Tesla Model Y için, dünyanın en büyük yekpare döküm makinesini üretti
Tesla, otomotiv dünyasında yıkıcı yenilikçilik terimine verilebilecek yegane örneklerden birisi. Otomobillerini maksimum verimlilik ve kalite ile üretmeye çalışıyor. Bu nedenle üretim süreçlerini sürekli olarak revize ediyor. Yeni odak alanlarından biri, otomobilin gövde üretimi. Tesla Model Y, markanın yeni alüminyum döküm sürecini kullanacağı ilk model olacak. Yeni devreye alınacak olan dünyanın en büyük yekpare döküm ünitesi ile, 70 parçadan üretilen gövde ilk etapta 4 parçaya ardından tek parçaya geçilmesi planlıyor.

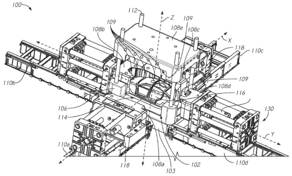
Tesla, 2019 yılında Model Y için kullanmayı planladığı yeni bir döküm makinesini anlatan “Bir Araç Çerçevesi için Çok Yönlü Tek Gövdeli Döküm Makinesi ve İlgili Yöntemler” patentini yayınlamıştı. Tasarımın amacı: “yapım süresini, işletim maliyetlerini, üretim maliyetlerini, fabrika karbon ayak izini, fabrika işletim maliyetlerini, alet maliyetlerini ve / veya ekipman miktarını azaltmak” olarak duyurulmuştu. Tesla, bir araç şasisi inşa etmek için gereken döküm makinelerinin sayısını azaltacağını ve hatta kendi başına “tam veya büyük ölçüde eksiksiz” bir çerçeve inşa edebileceğini belirtiyor. Bu üretim yönteminin, üretim için kaynak ve zaman tasarrufu sağlamaktan araç performansını iyileştirmeye kadar bir dizi avantajı var. Yekpare tasarım, ağırlığı önemli ölçüde azaltarak daha iyi pil ekonomisi, daha iyi kullanım ve sürüş konforu ile sonuçlanacak ve bir kazada tüm vücut enerji kuvvetlerini daha iyi absorbe edebildiği için daha güvenli olacak.

Model Y için aynı tek parça döküm makinesi her Tesla fabrikasına kurulacak ve bu da Model Y’nin kalitesini önemli ölçüde artıracak, üretim hızını artıracak ve maliyeti düşürecek. Bu üretim biçimi aynı zamanda Tesla modellerinin de fiyatlarını düşürmesine ve dünyadaki tüm otomotiv pazarlarına yayılmasında hızlandırıcı etken olacaktır.
